Beschrijving
8 bouten ARP2000 + vet.
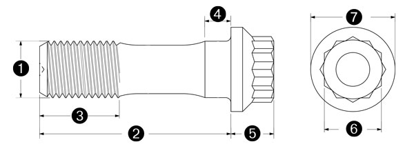
Zie maten op tekening:
1) Schroefdraad 9.525mm
2) Lengte onder de kop 40.64mm
3) Lengte draad 15.24mm
4) Kraag 3.683mm
5) Kop 9.855mm
6) Maat dop 7/16 12pt
7) Diameter kop 14.10mm
Producten
ALL SALESBardahlCadeaubonnenHonda delenInjectorenKMS + MAXXECUV-Buggy + delenAluminiumStoelen/Gordels/FIA materiaalCrossbandenCrossbrillen en toebehorenDiverse/batterijenKleding/helmen/protectorMotorisch/Aandrijving/Lucht/BenzineOnderhoud/olie/koelingOphanging/spoorverbredersSilicone slangenSturen & stuurverkorters
€ 125,00 € 103,31 ex. BTW
8 bouten ARP2000 + vet.
Zie maten op tekening:
1) Schroefdraad 9.525mm
2) Lengte onder de kop 40.64mm
3) Lengte draad 15.24mm
4) Kraag 3.683mm
5) Kop 9.855mm
6) Maat dop 7/16 12pt
7) Diameter kop 14.10mm